BKIP LOGO

為什麼注冊商標要選擇一家專業的代理機構?

2019年10月
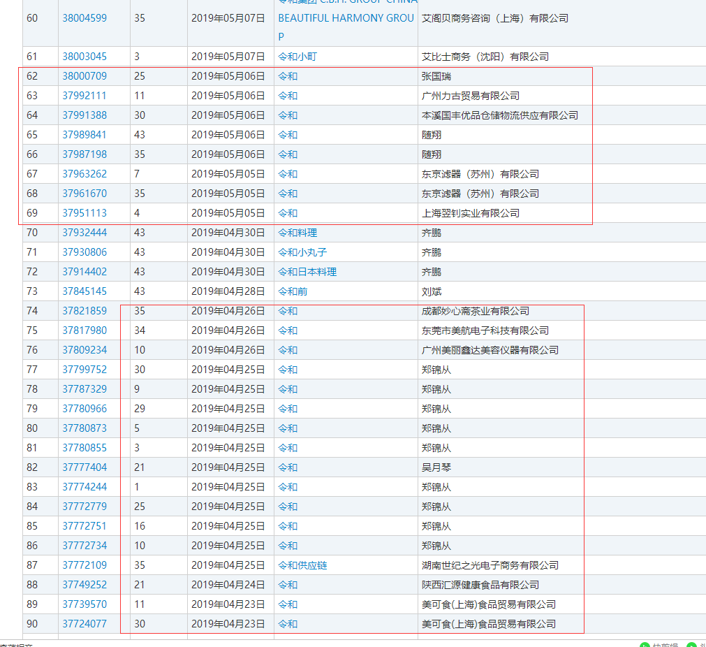
近日“令和”事件在商標圈內火了一把,同一代理機構為不同的申請人代理了同類別一模一樣的商標,出現此種情況的代理機構還不在少數,這一事件不得不讓眾多代理人唏噓,同時給正在考慮注冊商標的申請人一個重要警示:
什麼樣的費用買什麼樣的服務! 你需要選擇一個專業的代理人!
你需要選擇一家專業的代理機構!
專業的代理機構都有著一套完善高速的運轉體系,辦事效率高,節省時間,有專業團隊和豐富經驗,再加上後期諮詢服務和支援,主要表現在以下幾個方面:
1、商標名字的查詢和註冊風險的控制
一個企業商標註冊的成敗與否,最重要的一點便是名字查詢。普通代理機構雖也能查詢出一些近似商標,卻查詢不完整,也不能準確分析出這個名字到底是否能註冊。而一家專業的代理機構就能勝任這一項工作,檢索全面,更不會存在不檢索直接提交的情況。名字查詢是最體現專業度和入行經驗的一種工作了,商標審查標準與時代同步更新,再加上都是人為審核,導致一個名字能否註冊不僅要依靠審核標準更要結合寶貴的經驗。一些入行較淺,專業度不高的代理機構甚至連一些常見的駁回理由都不知曉,如何能給申請人做出準確的名字核實呢?普通代理機構可能知曉常規的近似查詢,像表示了商品的製造工藝特點的,缺乏顯著特徵的,產生不良影響的等等,沒有豐富的經驗僅靠書本知識,如何能去判斷?
2、商標類別的選擇
可靠的商標代理機構可以為申請人提供全面的商標保護策略,會根據企業量身定做企業適合的方案,做防禦性保護。像一些代理機構,業務員連一個產品屬於哪個商標類別都需要去翻書,對不同類別裡有互為類似商品的都不知,如何能給企業做好商標保護呢?
故名思義,顏色組合商標只保護顏色的組合這一商標構成要素。兩種或兩種以上顏色,以一定的比例、按照一定的排列順序組合而成的商標,不僅可以給人以美感,而且經過長期使用和廣泛宣傳,具備了較強的顯著。
3、商標駁回、商標異議的處理
商標註冊流程複雜而且週期長,在整個註冊申請期間,如果商標被駁回,需要代理機構協助駁回複審。如果申請人的商標初審公告後遭到異議,代理組織還會説明申請人搜集充分的證據,進行有力的答辯。面對駁回複審案件,異議答辯案件,若代理機構沒有專業的律師團隊如何去應對呢?是選擇轉代理,還是找個員工按格式隨便寫寫,走走流程,草草了事。最後當複審未成功,答辯未成功,便告知申請人,很遺憾你的商標國家沒有審核通過,我這也沒辦法。
4、商標證書下發後的防禦工作
商標拿到證書後,後期事情依然很多,有哪些注意事項,什麼時候需要續展,申請人名義,位址變更了怎麼辦,若有無效宣告,撤三應如何應對?另外商標使用形式的改變是否造成侵權,他人的使用是否對企業商標造成影響等等,沒有一個專業強的代理機構,做不到及時提醒和協助辦理,申請人萬不能做到高枕無憂。 商標註冊申請是一項專業性很強的工作,不只是簡單自助遞交,還有長達一年的諮詢甚至十年以上的維護,選擇商標代理人是必須的,選擇一家專業的代理機構更是必須的。選好代理機構是企業發展強大的基礎,一家可靠專業的代理機構才是你長期的合作夥伴,值得信賴!
深圳市江炳滔智慧財產權代理有限公司專長國內外商標註冊、商標轉讓,商標案件疑難業務,專注於商標領域,竭誠為企業服務。可撥打聯繫電話:13392872661(與微信同號)商標顧問雷小姐。
©版權 BKIP 2019

公司資料, 地址

BKIP Limited

香港銅鑼灣軒尼詩道489號銅鑼灣廣場1期22樓2202室
(852) 3157 0065
tm@bkip.com.hk