BKIP LOGO

糧草未動兵馬先行給企業帶來血的教訓

2019年9月
2018年7月20日下午兩點,位於上海市黃浦區黃家闕路的耳光餛飩店來了位不速之客,還沒等老闆潘南雲反應過來,對方便開口道“耳光餛飩的商標在我手裡,我們談一談。”潘雲南問道“談什麼?”對方說“商標在我手裡,要麼你把你的店都賣給我,我給你500萬,要麼我把商標賣給你,你給我1000萬,如果你不同意,我就自己出去加盟,到時候每年的加盟費都不止這個數。”
這一幕,真實而悲傷,要知道耳光餛飩是潘南雲和姐姐潘國仙從1997年便開始創立和苦心經營的,多位明星都來店裡打過卡,是上海知名小吃,由於沒有商標意識,早在2012年10月29日,便被美亞投資控股有限公司在餐飲第43類搶先註冊了“耳光”商標。另外經bkip查詢,近兩年來該公司又先後申請了耳光餛飩的相關商標。
由於商標申請在先原則,可能像上面的搶注案例每天都在上演,那麼遭遇商標搶注這樣的事情,我們該怎麼辦呢?
01 對在公告期內的商標,可以提異議申請
申請商標通過實質審查後會有固定的3個月公告期,在公告期內可對該商標提出異議申請(bkip提醒異議的同時一定不要忘了自己註冊),其法律依據在於商標法第三十二條:申請商標註冊不得損害他人現有的在先權利,也不得以不正當手段搶先註冊他人已經使用並有一定影響的商標。第三十三條:對初步審定公告的商標,自公告之日起三個月內,在先權利人、利害關係人認為違反本法第十三條第二款和第三款、第十五條、第十六條第一款、第三十條、第三十一條、第三十二條規定的,或者任何人認為違反本法第十條、第十一條、第十二條規定的,可以向商標局提出異議。
02 已經獲得註冊的商標可以提出無效宣告或撤銷連續三年不使用
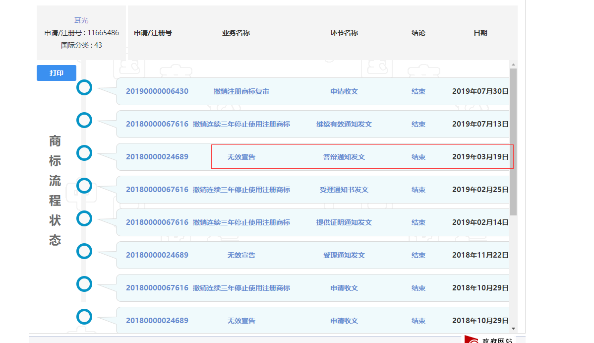
針對已經獲准註冊的商標,可以提出無效宣告或對對方的商標提出撤銷連續三年不使用申請,不過需要注意的是無效宣告申請有5年的時間限制(馳名商標除外)。法律依據為商標法第四十五條:已經註冊的商標,違反本法第十三條第二款和第三款、第十五條、第十六條第一款、第三十條、第三十一條、第三十二條規定的,自商標註冊之日起五年內,在先權利人或者利害關係人可以請求商標評審委員會宣告該注冊商標無效。對惡意註冊的,馳名商標所有人不受五年的時間限制。經bkip查詢,上述案例的耳光商標目前正在進行無效宣告和撤銷三年不使用程式中,期待有個好結果。
商標是市場的通行證,為防止商標被搶注,最好的辦法就是申請前的保密工作和儘早申請,一定要市場未動,商標先行,切不可因自己的疏忽大意而丟失心愛的商標品牌,用高額的代價為自己的“失誤”買單,同時多品類防禦保護也必不可少,提前做好全面佈局,打贏品牌戰略仗。
深圳市江炳滔智慧財產權代理有限公司專長國內外商標註冊、商標轉讓,商標案件疑難業務,專注於商標領域,竭誠為企業服務。
©版權 BKIP 2019

公司資料, 地址

BKIP Limited

香港銅鑼灣軒尼詩道489號銅鑼灣廣場1期22樓2202室
(852) 3157 0065
tm@bkip.com.hk